Baug- og hekkthruster
SEP60 PRO™ baug/hekk thruster 24V
60kg variable thrust,
-
PRO - VARIABLE SPEED CONTROL
Med et PRO™-thrustersystem kan du bruke akkurat den kraften som kreves for manøveren din. Den variable hastighetskontrollen eliminerer unødvendig støy, siden du ikke alltid trenger å kjøre systemet på 100%.
Med dobbelt oppsett (for og akter) får du også den praktiske hold-funksjonen som gjør at du kan stille inn et konstant trykk som holder båten mot brygga.
-
INTELLIGENT POWER CONTROL
Sleipners patenterte Intelligent Power Control (IPC) gir en forsinkelse mellom retningsendringene for å redusere slitasjen på de mekaniske delene, samtidig som reléfunksjonene overvåkes. Hvis eksempelvis et lavt strømnivå fører til at reléet faller og begynner å slå, setter IPC kontrollen på pause for å unngå innbrenning, og hvis reléet brenner inne, stopper baugpropellen automatisk for å unngå ulykker i havnen.
-
S-LINK™
S-Link™ er et CAN-basert system som brukes til kommunikasjon mellom Sleipner-produkter om bord i båten.
- Kompakte og vanntette kontakter
- Nøkkel- og fargekodede kontakter for å sikre korrekt og enkel installasjon
- Ulike kabellengder, forlengere og T-kontakter gjør systemet skalerbart og fleksibelt å installere
-
Q-PROP™
Q-Prop™-propellen har en målt støyreduksjon på opptil 75 % i kontrollerte miljøer. Den fembladede propellen reduserer støynivået samtidig som den opprettholder en eksepsjonell effektivitet. Noen baugpropellmodeller øker til og med skyvekraften.
- Forventet støyreduksjon i gjennomsnittlige installasjoner med 20-40 %
- Oppgraderingssett er tilgjengelig for de fleste Sleipner-propeller
-
OVERHEAT PROTECTION
Automatisk deteksjon av overoppheting av interne komponenter. Når en forhøyet temperatur registreres, slår enheten seg automatisk av for å forhindre farlig overoppheting.
-
FLEXIBLE INSTALLATION
Sleipner tilbyr fleksibel installasjon for å utnytte den tilgjengelige plassen. Våre thruster-modeller kan installeres i alle vinkler i tunnelen, og kan tilpasses slik at de passer til all tilgjengelig plass i båten din.
-
GALVANIC SEPARATION
Deler under båten som utsettes for sjøvann, er galvanisk isolert fra det elektriske systemet om bord, noe som eliminerer krypstrømmer.
-
SEALED DRIVE LUBRICATION
Baugpropellens girhus er oljefylt for livstidssmøring og forseglet med en mekanisk tetning av keramikk og karbon for maksimal sikkerhet mot vanninntrengning.
-
SINGLE PROPELLER
En riktig utformet baugpropell med singel propell vil være den mest energieffektive. Den kompakte designen gjør at den lett passer inn i smale skrog/baug, noe som gjør den til den ideelle serien av små baugpropeller. Med mer enn 60 000 baugpropeller i drift med singel propell er dette et bevis på pålitelighet og kvalitet.
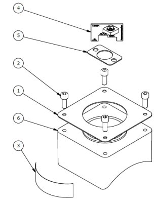
Varenummer: SEP60/185S2-24V
SEP60 PRO™ med trinnløs hastighetskontroll er en av Sleipners mest populære modeller egnet for båter mellom 27-37 fot.
Med skyvekraft på 60-73 kg og gnistsikring får du en sikker og pålitelig installasjon i båter med bensinmotorer. Kan installeres som baug- og hekkthruster.
Som med andre modeller tilbyr SEP60 en enorm installsjonsfleksibilitet da den kan monteres i alle vinkler på tunnelen, og elmotoren kan roteres 90 grader på motorfestet.
Bak beskyttelsesdekselet finner du hovedreleet, samt Sleipners patentere IPC enhet som overvåker systemets ytelse og funksjon. Se flere av produktfunksjonene nedenfor.
Sleipners standard thrustere er verdens mest solgte som et resultat av over 35 års utvikling. I løpet av årene har våre thrustere i tunnel blitt installert på mer enn 350 000 båter verden over.
Baug- og hekkthruster
De monteres enten i en tunnel gjennom båtens baug eller i en hekktunnel på båtens hekk. Tilgjengelig som standardversjon (på/av), PRO-versjon (variabel turtallskontroll) eller som IP PRO-versjon, som går fra 20 kg til opptil 300 kg skyvekraft.

Sleipners hekktunneler er utformet i solid og holdbart fiberglass for å forbedre thrusterens ytelse, og monteres enkelt på båtens akterspeil. Ekstra tunnelforlengere (selges separat) kan brukes for installasjon i båter med grunne kjøler eller hindringer på hekken.
De elektriske motorene, releene, det patenterte IPC-kontrollsystemet og de mekaniske delene i fremdriftssystemet er alle spesialdesignede og spesialbygde – på bakgrunn av mange års omfattende erfaring som leder i det globale thrustermarkedet.
Det har aldri vært lettere å legge til båten
PRO™ versjonen er utstyrt med hastighetskontroll, som gir deg full stegløs kontroll over thrusteren. Ikke bare er turtallskontrollen mer intuitiv for deg som båtfører, men den tilrettelegger også for en mer stillegående og avslappet manøvrering. Hvis du monterer et dobbelt thrustersystem (baug og hekk), får du den revolusjonerende hold-funksjonen, som holder båten mot bryggen under fortøyning.

Gnistsikret
Sleipner tilbyr modifiserte versjoner av våre standard thrustere for å tilrettelegge for pålitelige og trygge thrusterinstallasjoner. IP-varianten (ignition protection) har et hermetisk forseglet, sammensatt hus rundt alle elektriske deler. IP-versjonene benyttes i hekken og andre steder som kan bli våte eller bli utsatt for bensindamp.

En ekstra fordel er at elektriske deler som kan få vannskader, også er tildekket og beskyttet, noe som gjør disse thrusterne til det perfekte valget for hekkinstallasjoner der det er vanskelig å sikre at thrusteren alltid er tørr. IP-versjonene har alle fordelene og den utprøvde påliteligheten til våre standard thrustere.
-
Kvalitetsarven
Vi har levd og arbeidet med havet i hundre år. Derfor utvikler vi viktige funksjoner på en båt som hjelper deg når du er ute til sjøs som lar deg nyte båtlivet enda mer. Det var derfor du ville ha en båt, ikke sant?
-
Pålitelighet
Vi utvikler, produserer og følger våre løsninger til de er montert i et skrog. Vårt engasjement for detaljer sikrer at du kan stole på Sleipner-produktene dine for å gi deg den beste opplevelsen på vannet.
-
Vi er her
Vi bryr oss. Vårt globale forhandlernettverk er der for deg for å sikre optimal funksjon på ditt Sleipner-produkt år etter år. Derfor kan du stole på din Sleipner-løsning.